
8.1. Схема гидропривода тормозов:
А – гибкий шланг переднего тормоза; В – гибкий шланг заднего тормоза; 1 – тормозной механизм переднего колеса; 2 – трубопровод контура левый передний–правый задний тормоза; 3 – главный цилиндр гидропривода тормозов; 4 – трубопровод контура правый передний–левый задний тормоза; 5 – бачок главного цилиндра; 6 – вакуумный усилитель; 7 – тормозной механизм заднего колеса; 8 – упругий рычаг привода регулятора давления; 9 – регулятор давления; 10 – рычаг привода регулятора давления; 11 – педаль тормоза
На автомобиле применена рабочая тормозная система с диагональным разделением контуров (рис. 8.1), что значительно повышает безопасность вождения автомобиля. Один контур гидропривода обеспечивает работу правого переднего и левого заднего тормозных механизмов, другой — левого переднего и правого заднего. При отказе одного из контуров рабочей тормозной системы используется второй контур, обеспечивающий остановку автомобиля с достаточной эффективностью.
В гидравлический привод включены вакуумный усилитель 6 и двухконтурный регулятор 9 давления в задних тормозах.
Стояночная тормозная система имеет привод на тормозные механизмы задних колес.

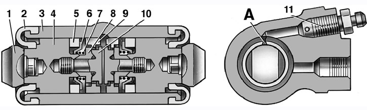
8.6. Тормозной механизм переднего колеса:
1 – тормозной диск; 2 – направляющая колодок; 3 – суппорт; 4 – тормозные колодки; 5 – рабочий цилиндр; 6 – поршень; 7 – уплотнительное кольцо; 8 – защитный чехол направляющего пальца; 9 – направляющий палец; 10 – защитный кожух
Тормозной механизм переднего колеса дисковый, с автоматической регулировкой зазора между колодками и диском, с плавающей скобой.
Скоба образована суппортом 3 (рис. 8.6) и рабочим цилиндром 5, стянутыми болтами. Подвижная скоба прикреплена болтами к пальцам 9, установленным в отверстиях направляющей колодок. В эти отверстия заложена смазка, между пальцами и направляющей колодок установлены резиновые чехлы 8. К пазам направляющей поджаты пружинами тормозные колодки 4.
В полости цилиндра 5 установлен поршень 6 с уплотнительным кольцом 7. За счет упругости этого кольца поддерживается оптимальный зазор между тормозными колодками и диском. В вариантном исполнении на автомобили могут быть установлены колодки с сигнализатором износа накладки колодки.

8.7. Тормозной механизм заднего колеса:
1 – гайка крепления ступицы; 2 – ступица колеса; 3 – нижняя стяжная пружина колодок; 4 – тормозная колодка; 5 – направляющая пружина; 6 – рабочий цилиндр; 7 – верхняя стяжная пружина; 8 – разжимная планка; 9 – палец рычага привода стояночного тормоза; 10 – рычаг привода стояночного тормоза; 11 – щит тормозного механизма

8.8. Рабочий цилиндр тормозного механизма заднего колеса:
А – прорезь на упорном кольце; 1 – упор колодки; 2 – защитный колпачок; 3 – корпус цилиндра; 4 – поршень; 5 – уплотнитель; 6 – опорная тарелка; 7 – пружина; 8 – сухари; 9 – упорное кольцо; 10 – упорный винт; 11 – штуцер
Тормозной механизм заднего колеса(рис. 8.7) барабанный, с автоматическим регулированием зазора между колодками и барабаном. Устройство автоматического регулирования зазора расположено в рабочем цилиндре. Его основным элементом является разрезное упорное кольцо 9 (рис. 8.8), установленное на поршне 4 между буртиком упорного винта 10 и двумя сухарями 8 с зазором 1,25–1,65 мм.
Упорные кольца 9 вставлены в цилиндр с натягом, обеспечивающим усилие сдвига кольца по зеркалу цилиндра не менее 343 Н (35 кгс), что превышает усилие на поршне от стяжных пружин 3 и 7 (см. рис. 8.7) тормозных колодок.
Когда из-за износа накладок зазор 1,25–1,65 мм будет полностью выбран, буртик на упорном винте 10 (см. рис. 8.8) прижимается к буртику кольца 9, вследствие чего упорное кольцо сдвигается вслед за поршнем на величину износа. С прекращением торможения поршни усилием стяжных пружин сдвигаются до упора сухарей в буртик упорного кольца. Так автоматически поддерживается оптимальный зазор между колодками и барабаном.

8.9. Привод стояночной тормозной системы: 1 – кнопка фиксации рычага; 2 – рычаг привода стояночного тормоза; 3 – защитный чехол; 4 – тяга; 5 – уравнитель троса; 6 – регулировочная гайка; 7 – контргайка; 8 – трос; 9 – оболочка троса
Стояночная тормозная система с механическим приводом, действует на тормозные механизмы задних колес. Привод стояночного тормоза состоит из рычага 2 (рис. 8.9), регулировочной тяги 4, уравнителя 5, троса 8, рычага 10 (см. рис. 8.7) ручного привода колодок и разжимной планки 8.

8.10. Датчик аварийного уровня тормозной жидкости:
1 – защитный колпачок; 2 – корпус датчика; 3 – основание датчика; 4 – уплотнительное кольцо; 5 – зажимное кольцо; 6 – отражатель; 7 – толкатель; 8 – втулка; 9 – поплавок; 10 – неподвижные контакты; 11 – подвижный контакт
Датчик аварийного уровня тормозной жидкости механического типа.
Корпус 2 (рис. 8.10) датчика с уплотнителем 4 поджат к основанию 3 зажимным кольцом 5, навинченным на горловину бачка. Одновременно к торцу горловины поджат фланец отражателя 6. В этом положении зажимное кольцо удерживается двумя фиксаторами, изготовленными на основании 3.
Через отверстие основания проходит толкатель 7, соединенный с поплавком 9 с помощью втулки 8. На толкателе расположен подвижный контакт 11, на корпусе датчика — неподвижные контакты 10. Полость контактов загерметизирована защитным колпачком 1.
При понижении уровня тормозной жидкости в бачке до предельно допустимого подвижный контакт опускается на неподвижные контакты и замыкает цепь сигнальной лампы аварийного состояния тормозной системы в комбинации приборов.
ПОЛЕЗНЫЕ СОВЕТЫ
Первый — самый надежный: закажите токарю алюминиевую или бронзовую крышку на главный тормозной цилиндр, заверните в нее вентиль от камеры и дополнительным шлангом соедините с запасным колесом; давление воздуха не должно превышать 0,05–0,07 МПа (0,5–0,7 кгс/см2).
Второй — не очень надежный, но допустимый: подсоедините резиновую грушу к штуцеру колесного цилиндра — соединение должно быть очень плотным. Сожмите грушу, отверните штуцер; когда груша заполнится наполовину, заверните штуцер. Повторите процедуру 3–4 раза. При пробном торможении проверьте работу тормозов.
Свободный ход педали тормоза при неработающем двигателе должен быть 3–5 мм. Слишком малый свободный ход свидетельствует о заедании колесного цилиндра и обусловливает повышенный расход топлива и ускоренный износ тормозных колодок, слишком большой — признак сверхнормативных зазоров в механизме педали или нарушения герметичности тормозной системы.
Если свободный ход уменьшается при неоднократном нажатии на педаль, т.е. она становится «жестче», – в системе воздух. Если полный ход педали начинает увеличиваться, система негерметична.
Если при торможении педаль тормоза начинает вибрировать, чаще всего дело в короблении тормозных дисков. К сожалению, в такой ситуации их надо только менять, причем сразу оба.
Если при торможении машину начинает тянуть в сторону, проверьте колесные цилиндры: возможно, потребуется их ремонт или замена.
Если в передней подвеске появился стук, пропадающий при торможении, проверьте затяжку двух болтов крепления суппорта.
После замены тормозных колодок до начала движения обязательно несколько раз нажмите педаль тормоза — поршни в колесных цилиндрах должны встать на место.
